• --热烈祝贺我会联办的科普活动被中国科协评为--优秀科普活动

          12月21日,中国科学技术协会办公厅印发《关于对2020年全国科普日有关组织单位和活动予以表扬的通知》(科协办函普字【2020】158号), 、南京工程学会和江苏省学会服务中心联办的“2020年全国科普日暨第一届‘天印筑梦·科普智行’”活动,被评为优秀科普活动。

    当前位置: 首 页 > >

    cnc加工中心的功能用途和分类

    时间:2019/8/9 15:37:29    浏览次数:6183    字体:   

    1.用途:箱体类零件和复杂曲面零件的加工。 
        2.功能:铣镗、钻、攻螺纹等。

    因为它具有自动换刀功能,工件一次装夹后,能自动地完成或者接近完成工件各面的所有加工工序。

     

    3.分类:
    (1)按结构形式可以分为:
    1)立式加工中心
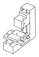
    ①坐标轴运动具有两种方式:
    a.X、Y方向工作台移动、Z方向主轴箱移动;b.动立柱加工中心:工作台固定,X、Y和Z方向的运动由主轴立柱和主轴箱移动来实现。


    立式加工中心运动轴示意图



     

     JCS-018A型立式加工中心外观图 

    1-X轴的直流伺服电动机 2-换刀机械手 3-数控柜 4-盘式刀库 5-主轴箱 
    6-操作面板 7-驱动电源柜 8-工作台 9-滑座 10-床身 

     

    ②刀库:立式加工中心的刀库有不同的形式,每种形式的刀库可以容纳的刀具数量差距较大,并在一定程度上决定了加工中心加工能力的大小。



    刀库  a b c d e f )盘式刀库  g h I j) 链式刀库  k)格子式刀库

    2)卧式加工中心
    ①卧式加工中心的刀库一般为链式结构,刀库容量较大。
    ②应用面更为广泛,可加工扭曲面,箱体等复杂零件,例如水轮机叶轮的加工。


    卧式加工中心
    1-主轴头 2-刀库  3-立柱  4-立柱底座  5-工作台  6-工作台底座

     

    3)立卧式加工中心
    ①立卧式加工中心——是利用铣头的立卧转换机构实现从立式加工方式转换为卧式加工方式或从卧式加工方式转换为立式加工方式。
    ②这种加工中心的加工适用面更为广泛。

     



    立卧式加工中心 5轴运动方向示意 
    a)主轴可做90°  旋转 b) 工作台带工件可做90°旋转


    (2)按功能分类:
    1)主轴形式:有单主轴、双主轴或三主轴;
    2)工作台形式: 单工作台
    3)双工作台托盘交换系统
    4)多工作台托盘交换系统。
    5)刀库形式: 回转式刀库
    6)链式刀库
    组成:数控系统、机体、主轴、进给系统、刀库、换刀机构、操作面板、托盘交换系统(或工作台)和辅助系统等。 

     



    Baidu
    map